Re: 6569 luminances

From: Gerrit Heitsch <gerrit_at_laosinh.s.bawue.de>
Date: Tue, 15 May 2012 14:32:33 +0200
Message-ID: <4FB24CE1.9080205@laosinh.s.bawue.de>
On 05/15/2012 12:03 PM, silverdr@wfmh.org.pl wrote:
>
> On 2012-05-14, at 12:56, Gerrit Heitsch wrote:
>
>>> Your ASCII-art skills are remarkable in this context.
>>
>> Thank you... Took a while to do it though as wasn't much fun in 'vi'.
>
> Vi, and especially vim is an impressive tool in well-trained hands.. yes, I like emacs too! :-D

My day job is working on big UNIX systems and the only editor you can 
expect to be in place on all of them is of course 'vi'. It gets so bad 
that I tend to press ESC even when not using 'vi'. :)


>> Since I only wanted it for a 6569 I used this simple stage of the evolution.
>
> Did they get to a point where the problem was eventually solved? While I don't use the C64 narrow boards with 8565, I find this effect quite annoying in the 128s. BTW - there are some pictures (photos) in the thread but despite that the description says e. g. 800x600, they are very small when clicked..

Well, the problem is the AEC signal impressing itself on the Luma signal 
if I remember that right. That happens on the VIC itself, so it's not a 
board issue. That means you can try to counter the effect, but it will 
only go so far.

If you manage to get a REALLY good signal from a 6569, with some you can 
also see a hint of vertical bars. Not as bad as a 8565 though.


>> Remember that this ciruit will only produce a Y/C-Signal. If you want composite, you'll have to add a capacitor of a few hundred pF between Chroma and Luma. Ideally this is done in the plug and not on the board so you can still use Y/C for monitors that have the proper input.
>
> Since I want to keep the output over original socket, I think I would simply add a switch on that daughterboard I am going go make. I take typical 470pF would work as "few hundred", right?  Hopefully it would not affect signal quality much.

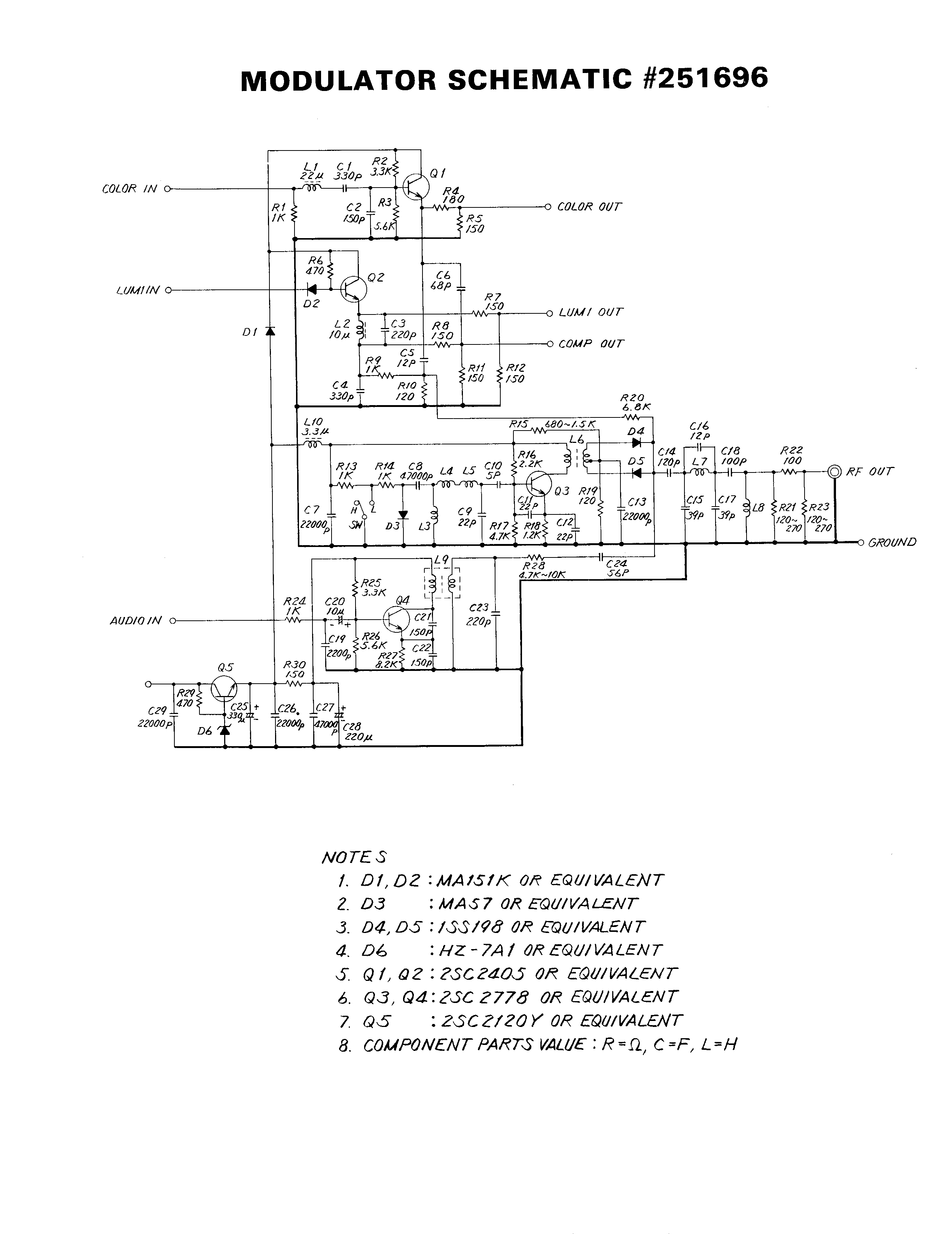
I took a look at the schematics of the original (NTSC) modulator. And 
there they seem to use 68pF (C6):

http://www.zimmers.net/anonftp/pub/cbm/schematics/computers/c64/modulator-251696.gif

So even a switch might get you enough coupling to have color signal 
where you don't want it.


>> 2) The PCB layout of the C16 board is broken, Chroma and Luma signals run side by side for quite a bit of distance. This results in enough Chroma being coupled into Luma that you get a color picture if you just connect the Luma signal to the monitor.
>
> :-) I know. I recall myself wondering "WTF" many years ago.

It can be improved but not completly eliminated the way I tried it.


>
>> The SID uses the +12V for some of the output stage and since it's analog, changing the voltage might change the sound. So be careful what you do.
>
> Yes - that's exactly what I meant when writing that I "have to check". For digital things there is not much of a problem replacing VRs with switching ones (potentially more noisy output) or going up / down with voltage and see whether it works or not. With analogue stuff things are much more subtle and less predictable, with possible side effects that may go unnoticed on first quick check.

Well, if you want to do some experiments, rig up a LM317 in the 
adjustable configuration instead of the 7812, make sure it can't go over 
+12V and then slowly reduce the voltage and see what happens with VIC 
and SID output. Remember that different revisions and even batches of 
them will have different voltages where funky things start to happen.

  Gerrit







       Message was sent through the cbm-hackers mailing list
Received on 2012-05-15 13:00:36

Archive generated by hypermail 2.2.0.